電話:0577-66996885
傳真:0577-66995778
手機:13353386068
Q Q:2219968630
網址:m.cnjlzl.cn
地址:浙江省永嘉縣甌北鎮三橋工業區
FPG型增強聚丙烯管道泵產品簡介:
FPG型增強聚丙烯管道泵,采用增強聚丙烯(RPP),一次注塑成型,機械強度高,耐腐蝕性能強,介質不與金屬接觸,機封密封使用壽命長,效率高、價格便宜,是替代不銹鋼和其它非金屬泵的理想產品。RPP材質:非極性,無污毒,耐一般酸堿鹽類,工作溫度-14℃-80℃,廣泛用于化工管道輸送。
FPG型增強聚丙烯管道泵使用:
1、管道泵在起動前應采用灌泵或抽真空手段使泵內充滿液體,嚴禁空轉和反轉。
2、泵的輸送液應不含泥沙、顆粒和較長的纖維物質,以防堵塞致使葉輪和機封損壞。
3、泵的輸送介質比重大于1.2時應另配電機,以免影響揚程或燒壞電機。
4、停車前應先關閉排出管路閥門。在倒灌情況下還需關閉進口管路閥門,后關閘停機。
維護與保養:
1、管道泵使用一段時間后,發現機封端面泄漏,是機封端面磨損所致,應調整動環,擰松動不銹鋼半圓的兩顆螺釘,將動環適當向前推進,無阻為佳。
2、每日開機8-16小時為泵的*佳使用狀態。連續使用24小時的應配有備件,定期維修更換,更換期一般為二至三個月,到期都應進行檢修,不影響生產或非連續運轉使用的可隨時進行檢修。
3、泵的檢修方法:
a.清除泵殼、泵蓋、葉輪內外污物雜質,沖刷干凈后仔細檢查,無損壞的可繼續使用。
b.清除和沖刷機封組合件內外污物、雜質,檢查其密封端面磨損情況,磨損或劃傷較小的可用細金相砂紙在平板上進行研磨至平整無傷痕后可繼續使用,經研磨不能消取傷痕的須更換。
泵的拆卸
直聯式管道泵的拆卸順序:拆除托架與泵體連接的八顆螺栓(有前泵蓋的還需拆除前泵蓋與泵體連接的八顆螺栓)取下泵殼(前泵蓋拆除葉輪軸與軸套連接的一顆不銹鋼緊固螺釘,葉輪軸反相轉至與電機軸脫開;松開機封動環上兩顆不銹鋼螺栓,取下機封動環;取出葉輪,拆除靜環壓蓋拆卸完畢。
FPG型增強聚丙烯管道泵安裝:
1、管道泵在安裝使用前應仔細核對型號規格是否配套適用,并詳細閱讀產品使用說明書。
2、泵在安裝使用前必須仔細檢查各部位緊固件有無松動,若有松動必須重新擰緊。
3、安裝管路不可直接支撐在泵的進出口法蘭上,必須另設支撐點,以防泵變形損壞。
4、泵的安裝位置高于液面(在泵的吸程允許范圍內)時,應在吸入管路端安裝底閥,并在排出管路上設置灌液螺孔和閥門,供起動前灌泵之用。
5、泵的進口直徑應安裝相同的吸入管,泵的出口管安裝同進口水平,*好配裝閥門,便于操作時先開機后開閥,先關閥后停機。
6、泵在安裝使用時應注意泵的流量和揚程必須按使用說明書標準,如揚程低達不到標準,應在泵出口處安裝球閥控制流量,以免超負荷燒壞電機。
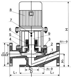
結構圖及外形尺寸
|
1 |
泵體 |
|
|
2 |
葉輪 |
|
|
3 |
泵蓋 |
|
|
4 |
靜環壓蓋 |
|
|
5 |
機械密封 |
|
|
6 |
托架 |
|
|
7 |
柱頭螺釘 |
|
|
8 |
電機 |
|
|
9 |
葉輪軸 |
|
型號規格 |
DN |
H |
H1 |
L1 |
L2 |
D |
D1 |
n-φ |
D2 |
D3 |
|
25FPG-11 |
25 |
430 |
70 |
110 |
130 |
115 |
85 |
4×14 |
115 |
85 |
|
40FPG-18 |
40 |
460 |
80 |
140 |
160 |
145 |
110 |
4×14 |
145 |
110 |
|
50FPG-22 |
50 |
580 |
100 |
160 |
180 |
160 |
125 |
4×14 |
160 |
125 |
|
40FPG-25 |
40 |
660 |
80 |
140 |
160 |
145 |
110 |
4×16 |
145 |
110 |
|
50FPG-28 |
50 |
680 |
100 |
160 |
180 |
160 |
125 |
4×18 |
160 |
125 |
FPG型增強聚丙烯管道泵故障與排除方法:
|
故障現象 |
原 因 |
排 除 方 法 |
|
泵不排液
|
1、灌泵不足; 2、泵軸轉向不對; 3、濾網堵塞。 |
1、重新灌泵; 2、調整泵軸轉向; 3、停機檢查,清除雜物。 |
|
泵排液 后中斷 |
1、吸入管路漏氣; 2、灌泵時吸入側氣體未排盡; 3、吸入側突然被異物堵塞。 |
1、檢查吸入管連接必吸機樹密封的密射情況; 2、重新按要求灌泵; 3、停機,并清除異物。 |
|
流量不足
|
1、管路漏氣,漏液; 2、阻力損失增加, 3、葉輪磨損,堵塞,腐蝕。 |
1、檢查連接處機械密封; 2、檢查管路及止逆閥等有無障礙; 3、檢查、清洗、調換葉輪。 |
|
揚程不足
|
1、電源電機不正常; 2、轉速不夠; 3、吸入管路漏氣; 4、液體密度、粘度與設計不符; 5、操作流量太大。 |
1、檢查電源電機情況; 2、停機檢查,清除雜物; 3、檢查連接處及機械密封; 4、檢查液體有關物理性質; 5、減少操作流量。 |
|
泵發生振 動或響聲 異常
|
1、大量吸入氣體; 2、底腳螺栓松動或基礎不良; 3、泵發生氣蝕; 4、泵發生喘振; 5、葉輪損壞。 |
1、檢查吸入口接口漏氣; 2、擰緊螺栓,加固基礎; 3、檢查引起原因荊E除; 4、檢查排出液壓力是否過高; 5、拆泵檢查并更換葉輪。 |

