電話:0577-66996885
傳真:0577-66995778
手機:13353386068
Q Q:2219968630
網址:m.cnjlzl.cn
地址:浙江省永嘉縣甌北鎮三橋工業區
CQF型工程塑料磁力驅動泵產品特點:
CQF型工程塑料磁力泵以靜密封取代動密封,利用磁力耦合間接驅動,完全消除了滴漏的煩惱,絕不污染使用場地。是化工流程中杜絕跑、冒、滴、漏現象,消除環境污染,創造“無泄漏車間”、“無泄漏工廠”,實現安全、文明生產的理想用泵。
CQF型工程塑料磁力驅動泵型號意義:
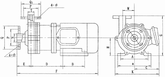
CQF型工程塑料磁力驅動泵安裝尺寸圖:
|
型號 |
A |
B |
C |
D |
E |
F |
G |
H |
J |
a |
K |
M |
N |
機座螺孔 |
P |
P1 |
Q |
Q1 |
φ |
φ1 |
|
25CQF-15 |
125 |
100 |
140 |
189.5 |
67.5 |
460 |
205 |
90 |
|
160 |
240 |
71.5 |
|
φ12 |
75 |
65 |
100 |
90 |
12 |
10 |
|
32CQF-15 |
125 |
100 |
140 |
189.5 |
67.5 |
460 |
205 |
90 |
|
160 |
240 |
71.5 |
|
φ12 |
90 |
75 |
120 |
100 |
12 |
10 |
|
32CQF-25 |
125 |
100 |
140 |
189.5 |
67.5 |
460 |
230 |
90 |
|
160 |
260 |
85 |
|
φ12 |
90 |
75 |
120 |
100 |
12 |
10 |
|
40CQF-20 |
140 |
120 |
155 |
235 |
75 |
545 |
220 |
100 |
|
180 |
290 |
78.5 |
|
φ12 |
100 |
90 |
130 |
120 |
14 |
14 |
|
40CQF-32 |
190 |
140 |
190 |
271 |
80 |
620 |
260 |
112 |
|
245 |
336 |
91 |
|
φ12 |
100 |
90 |
130 |
120 |
14 |
14 |
|
50CQF-25 |
190 |
140 |
190 |
271 |
80 |
620 |
260 |
112 |
|
245 |
336 |
91 |
|
φ12 |
110 |
100 |
140 |
130 |
14 |
14 |
|
50CQF-40 |
190 |
140 |
190 |
271 |
80 |
620 |
260 |
112 |
|
245 |
336 |
91 |
|
φ12 |
110 |
100 |
140 |
130 |
14 |
14 |
|
65CQF-25 |
216 |
140 |
200 |
305 |
90 |
695 |
300 |
132 |
|
280 |
350 |
91 |
|
φ12 |
130 |
110 |
160 |
140 |
14 |
14 |
CQF型工程塑料磁力驅動泵主要材料
耐腐蝕性能(供參考):
|
介質名稱 |
濃度 |
聚丙烯 |
濃度 |
A B C |
濃度 |
不銹鋼 |
濃度 |
陶瓷 |
||||
|
% |
25℃ |
50℃ |
% |
20℃ |
60℃ |
% |
25℃ |
50℃ |
% |
25℃ |
50℃ |
|
|
硫 酸 |
60 |
√ |
√ |
<30 |
√ |
× |
<5 |
√ |
× |
|
V |
V |
|
硝 酸 |
25 |
√ |
√ |
20 |
√ |
○ |
70 |
V |
√ |
|
V |
V |
|
鹽 酸 |
36 |
√ |
√ |
<38 |
√ |
√ |
|
× |
|
|
V |
V |
|
氫 氟 酸 |
35 |
√ |
√ |
40 |
√ |
× |
|
× |
|
0~100 |
× |
|
|
醋 酸 |
<80 |
√ |
√ |
<20 |
√ |
○ |
<20 |
√ |
√ |
|
V |
V |
|
氫氧化鈉 |
100 |
√ |
√ |
|
√ |
√ |
70 |
√ |
√ |
|
○ |
× |
|
重銘酸鉀 |
25 |
√ |
√ |
|
√ |
√ |
40~60 |
V |
V |
10~20 |
V |
V |
|
溴 水 |
|
× |
× |
|
○ |
× |
|
○ |
|
|
V |
V |
|
乙 醇 |
|
√ |
○ |
<50 |
√ |
√ |
|
V |
√ |
|
V |
V |
|
丙 酮 |
|
√ |
○ |
10 |
○ |
|
|
V |
V |
|
V |
× |
|
四氯乙烷 |
|
○ |
|
|
○ |
× |
50 |
V |
V |
|
V |
V |
|
氟利昂22 |
|
√ |
√ |
|
○ |
○ |
|
V |
|
|
V |
V |
|
漂 白 液 |
CL13% |
√ |
√ |
CL12.5% |
○ |
○ |
CL12.5% |
× |
|
|
V |
V |
|
電 鍍 液 |
|
√ |
√ |
|
○ |
× |
|
|
|
|
V |
V |
|
照 相 液 |
|
√ |
√ |
|
√ |
√ |
|
V |
|
|
V |
V |
CQF型工程塑料磁力驅動泵性能參數:
|
型 號 |
口徑 |
流量 (m3/h) |
揚程 (m) |
電機功率 (kW) |
電 壓 (V) |
材 質 |
|
|
進口(mm) |
出口(mm) |
||||||
|
10CQF-3 |
10 |
8 |
0.9 |
3 |
0.01 |
220 |
工 程 塑 料 |
|
14CQF-5 |
14 |
10 |
1.2 |
5 |
0.12 |
220/380 |
|
|
16CQF-8 |
15 |
15 |
1.8 |
8 |
0.12 |
220/380 |
|
|
20CQF-12 |
25 |
18 |
3 |
12 |
0.37 |
220/380 |
|
|
25CQF-15 |
25 |
20 |
5.4 |
15 |
1.1 |
380 |
|
|
32CQF-15 |
32 |
25 |
6.5 |
15 |
1.1 |
380 |
|
|
32CQF-25 |
32 |
25 |
4.8 |
25 |
1.1 |
380 |
|
|
40CQF-20 |
40 |
32 |
10.8 |
20 |
2.2 |
380 |
|
|
50CQF-25 |
50 |
40 |
14.4 |
25 |
3 |
380 |
|
|
50CQF-32 |
50 |
40 |
12.5 |
32 |
4 |
380 |
|
|
65CQF-25 |
65 |
50 |
25 |
25 |
5.5 |
380 |
|
|
65CQF-32 |
65 |
50 |
25 |
32 |
5.5 |
380 |
|
|
注:表中20CQF-12---65CQF-32都可配防爆電機 |
|||||||
CQF型工程塑料磁力驅動泵安裝與使用:
一、磁力泵應水平安裝,不宜豎立,塑料泵不得承受管路重量,對于特殊垂直安裝的場合,電機務必朝上。
二、當抽吸液面高于泵軸心線時,起動前打開吸入管道閥門即可,若抽吸液面低于泵軸心線時,管道需配底閥
三、泵使用前應進行檢查,電機風葉轉動要靈活,無卡住及異常聲響,各緊固件要緊固。
四、查電機旋轉方向是否與磁力泵轉向標記一致.
五、電機啟動后,緩慢打開排出閥,待泵進入正常工作狀態后,再將排出閥調到所需開度.
六、泵停止工作前,應先關閉排出閥門,然后關閉吸入管閥門.
CQF型工程塑料磁力驅動泵故障原因及排除方法:
|
故障現象 |
原 因 分 析 |
排 除 方 法 |
|
泵不出水 |
1、 水泵反轉 |
1、 調整電機旋轉方向 |
|
2、 進水管漏氣 |
2、 杜絕漏氣 |
|
|
3、 泵腔儲水不足 |
3、 增加儲水量 |
|
|
4、 電壓太高、啟動時聯軸器打滑 |
4、 調整電壓 |
|
|
5、 吸程太高 |
5、 降低泵安裝位置 |
|
|
6、沒有灌水或泵內不足 |
6、 放凈空氣、灌滿水 |
|
|
7、葉輪受阻不轉 |
7、請先葉輪、泵殼、隔離套 |
|
|
8、底閥堵死或銹死 |
8、清洗杜塞物和修理底閥 |
|
|
流量不足 |
1、 吸入管徑大小或堵塞 |
1、 調換或清洗進水管 |
|
2、 葉輪流道阻塞 |
2、 清洗葉輪 |
|
|
3、 揚程過高 |
3、 開大出水閥 |
|
|
4、 轉速不夠、 |
4、 恢復額定轉速 |
|
|
5、葉輪磨損或腐蝕嚴重 |
5、更換葉輪 |
|
|
6、揚程過高或吸程過高額定 |
6、降低揚程、降低泵的安裝位置 |
|
|
7、吸入管路空氣漏進 |
7、拒絕漏氣 |
|
|
8、密封環嚴重磨損 |
8、更換密封環 |
|
|
揚程過低 |
1、 流量過大 |
1、 關小出水閥 |
|
2、 轉速太低 |
2、 恢復額定轉速 |
|
|
澡音太大 |
1、 泵軸嚴重磨損 |
1、 更換泵軸 |
|
2、 軸承嚴重磨損 |
2、 更換軸承 |
|
|
3、 外磁鋼或內磁鋼與隔離套接觸 |
3、 拆除泵頭重新組裝 |
|
|
4、 密封環與葉輪研磨 |
4、 更換止推環、密封環 |
|
|
5、 泵沒有固定好 |
5、 重新固定好 |
|
|
漏液 |
1、 O型密封圈損壞 |
1、 更換O型密封圈 |
CQF型工程塑料磁力驅動泵結構爆炸圖:
注:1、泵 體:增強聚丙稀; 2、靜 環:碳化硅或氧化鋁陶瓷;3、動 環:填充F4;4、葉 輪:增強聚丙稀;5、密封圈:氟橡膠;6、隔 板:增強聚丙稀;7、隔離套:增強聚丙稀;8、外磁:HT200+永磁體;9、轉子:增強聚丙稀+永磁體;10、主軸:碳化硅或氧化鋁陶瓷;11 軸承:填充F4;12、支架:HT200
CQF型工程塑料磁力驅動泵使用注意事項:
一、因磁力泵軸承的冷卻和潤滑是靠被輸送的介質,所以禁止空運轉,同時避免在工作中途停電后再啟動時所造成載時空載運轉。
二、當抽吸液面高于泵軸心線時,起動前打開吸入管道閥門即可,若抽吸液面低于泵軸心線時,管道需配底閥
三、泵使用中環境應小于40℃、電機溫升不得超過75℃。
四、被輸送的介質及其溫度應在泵材允許范圍內。工程塑料泵的使用溫度<60℃,金屬泵的使用溫度小于100℃,輸送吸入壓力不大于0.2MPa,工作壓力1.6MPa、密度不大于1600kg/m3,粒度不大于30×10-6m2/S的不含硬顆料和纖維的液體。
五、對于輸送液為易沉淀結晶的介質,使用后應及時清洗,排凈泵內積液。
六、磁力泵運行500小時后,應拆軸承和端面動環的磨損情況若軸承和軸套的間隙大于0.5~1mm,葉輪軸向竄動1.5~2mm時,應更換軸承和軸向動環。
CQF型工程塑料磁力驅動泵產品用途:
CQF型工程塑料磁力泵結構緊湊,外型美觀,體積小,躁聲低,運行可靠,使用維修方便。可廣泛用于化工,制藥,石油,電鍍,食品,電影照相洗印,科研機構,國防工業等單位 抽送酸,堿液,油類稀有貴重液,毒液,揮發性液體,以及循環水設備配套,過率機配套。特別是易漏,易燃,易爆液體的抽送。防爆電動機選用此泵則更為理想。
聲明:由于產品一直在更新,本文中所有文字、數據、圖片均只適用于參考,CQF型工程塑料磁力驅動泵性能參數、CQF型工程塑料磁力驅動泵使用場合、CQF型工程塑料磁力驅動泵材質要求、CQF型工程塑料磁力驅動泵結構、CQF型工程塑料磁力驅動泵安裝尺寸以及CQF型工程塑料磁力驅動泵的價格等詳情,我們一定會盡心盡力為您提供優質的服務。

